Hydraulic Box Scrapers Manual

Image
Image
Image
Image
Listed below are common practices that may or may not be applicable to the products described in this manual.

Look for the Safety Alert Symbol

Image
The SAFETY ALERT SYMBOL indicates there is a potential hazard to personal safety and extra precaution must be taken. When you see this symbol, be alert and carefully read the message that follows it. Hazard control, and accident prevention are dependent upon the awareness, concern, prudence and proper training of personnel involved in the operation, transport, maintenance, and storage of equipment.
Be Aware of Signal Words
A signal word designates a degree or level of hazard seriousness. They are:
DANGER:
Indicates a hazardous situation that, if not avoided, will result in death or serious injury.
WARNING:
Indicates a hazardous situation that, if not avoided, could result in death or serious injury.
Listed below are common practices that may or may not be applicable to the products described in this manual.

Safety at All Times

Careful operation is your best assurance against an accident. All operators, no matter how much experience they may have, should carefully read this manual and other related manuals before operating this power machine and this implement.
  • Thoroughly read and understand the “Safety Label” section. Read all instructions noted on them.
  • Do not operate the equipment while under the influence of drugs or alcohol as they impair the ability to safely and properly operate the equipment.
  • The operator should be familiar with all functions of the power machine and attached implement, and be able to handle emergencies quickly.
  • Keep all bystanders away from equipment and work area.
  • Operate power machine and controls from the driver’s seat only.
  • Never dismount from a moving power machine or leave power machine unattended with engine running.
  • Do not allow anyone to stand between implements and power machine while attempting to connect or disconnect them.
  • Keep hand, feet and clothing away from power-driven parts.
  • While transporting and operating equipment, watch out for objects overhead and along side such as fences, trees, buildings, wires, etc.
  • Do not turn power machine so tight as to cause hitched implement to contact the power machine’s rear wheel.
  • Store implement in a safe and secure area where children do not plate. When needed, secure implement against falling with support blocks and/or shipping locks.

Safety Precautions for Children

Tragedy can occur if the operator is not alert to the presence of children. Children are generally attracted to implements and their work.
  • Never assume children will remain where you last saw them.
  • Keep children out of the work area and under the watchful eye of a responsible adult.
  • Be alert and shut the implement and power machine down if children enter the work area.
  • Never carry children on the power machine or implement. There is not a safe place for them to ride. They may fall off and be run over or interfere with the control of the power machine.
  • Never allow children to operate the power machine, even under adult supervision.

Power Machine Shutdown & Storage

Image
  • If engaged, disengage power take-off.
  • Park on solid, level ground and lower implements to ground or onto support blocks.
  • Put power machine in part or set park brake
  • Turn off engine and remove ignition key to prevent unauthorized starting.
  • Relieve all hydraulic pressure to auxiliary hydraulic lines.
  • Wait for all components to stop before leaving the operator’s seat.
  • Use steps, grab-handles and anti-slip surfaces when stepping on and off the power machine.

Use a Safety Chain

  • A safety chain will help control drawn machinery should it separate from the power machine or tow vehicle.
  • Use a chain with the strength rating equal to or greater than the gross weight of the towed implement
  • Attach the chain to the power machine’s or tow vehicle’s draw bar support or other specified anchor location. Allow only enough slack in the chain to permit turning.
  • Always hutch the implement to the machine towing it. Do not use the safety chain to tow the implement.

Tire Safety

Image
  • Tire changing can be dangerous 
and must be performed by trained 
personnel using the correct tools and
equipment.
  • Always properly match the wheel size to the properly sized tire.
  • Always maintain correct tire pressure. Do not inflate tires above the recommended pressures shown in the Operator’s Manual or printed on the tires themselves.
  • When inflating tires, use a clip-on chuck and extension hose long enough to allow you to stand to one side and NOT in front of or over the tire assembly. Use a safety cage if available.
  • Securely support the implement when changing a wheel.
  • When removing and installing wheels, use wheel handling equipment adequate for the weight involved.
  • Make sure wheel bolts have been tightened to the specified torque.

Practice Safe Maintenance

Image
Image
Image
Image
  • Understand procedure before doing work. Refer to the Operator’s Manual for additional information.
  • Work on a level surface in a clean, dry area that is well-lit.
  • Lower implement to the ground and follow all shutdown procedures before leaving the operator’s seat to perform maintenance
  • Do not work under any hydraulically supported equipment. It can settle, suddenly lead down, or be lowered accidentally. If it is necessary to work under the equipment, securely support it with stands or suitable blocking beforehand.
  • Use properly grounded electrical outlets and tools.
  • Use correct tools and equipment for the job that are in good condition.
  • Allow equipment to cool before working on it.
  • Disconnect battery ground cable (-) before servicing or adjusting electrical systems or before welding on implement.
  • Inspect all parts. Make certain parts are in good condition & installed properly.
  • Replace parts on this implement with genuine Hatfield parts only. Do not alter this implement in a way which will adversely affect its performance.
  • Do not grease or oil implement while it is in operation.
  • Remove any buildup of grease, oil, and/or debris.
  • Always make sure any material and waste products from the repair and maintenance of the implement are properly collected and disposed.
  • Do not weld or torch galvanized metal as it will release toxic fumes.

Prepare for Emergencies

  • Be prepared if a fire starts
  • Keep a first aid kit and fire extinguisher handy.
  • Keep emergency number for doctor, ambulance, and fire department near the phone.

Use Safety Lights and Devices

  • A slow-moving power machine can create a hazard when driven on public roads. They are difficult to see, especially at night. Use the Slow-Moving Vehicle (SMV) Sign when on public roads.
  • Flashing warning lights and turn signals are recommended whenever driving on public roads.

Wear Personal Protective Equipment

  • Wear protective clothing and equipment appropriate for the job such as safety shoes, safety glasses, hard hat, dust mask, and ear plugs.
  • Clothing should fit snug without fringes and pull strings to avoid entanglement with moving parts.
  • Prolonged exposure to loud noise can cause hearing impairment or hearing loss. Wear suitable hearing protection such as earmuffs or earplugs.
  • Operating a machine safely requires the operator’s full attention. Avoid wearing headphones while operating

Use Seat Belt and ROPS

  • Use of a CAB or roll-over-protective-structures (ROPS) and seat belt is recommended in almost all power machines.
  • If ROPS is in the locked-up position, fasten seat belt snugly and securely to help protect against serious injury or death from falling and machine overturn.

Avoid High Pressure Fluids

  • Escaping fluid under pressure will penetrate the skin or eyes causing serious injury.
  • Relieve all residual pressure before disconnecting hydraulic lines or performing work on the hydraulic system.
  • Make sure all hydraulic fluid connections are properly tightened/torqued and all hydraulic hoses and lines are in good condition before applying pressure to the system.
  • Use a piece of paper or cardboards, NOT BODY PARTS, to check for suspected leaks.
  • Wear protective gloves and safety glasses or goggles when working with hydraulic systems.
  • DO NOT DELAY. If an accident occurs, seek immediate

Keep Riders Off Machinery

  • Never carry riders on the tractor or implement.
  • Riders obstruct operator’s view and interfere with the control of the power machine.
  • Riders can be struck by objects or thrown from equipment.
  • Never use the power machine to lift or transport riders.

Avoid Crystalline Silica (quartz) Dust

Because crystalline silica is a basic component of sand and granite, many activities at construction sites produce dust containing crystalline silica. Trenching, sawing and boring of material containing crystalline silica can produce dust containing crystalline silica particles. This dust can cause serious injury to the lungs (silicosis).
There are guidelines which should be followed if crystalline silica (quartz) is present in the dust.
  • Be aware of and follow OSHA (or other local, State, or Federal) guidelines for exposure to airborne crystalline silica.
  • Know the work operations where exposure to crystalline silica may occur.
  • Participate in air monitoring or training programs offered by the employer.
  • Be aware of and use optional equipment controls such as water sprays, local exhaust ventilation, and enclosed cabs with positive pressure air conditioning if the machine has such equipment. Otherwise, respirators shall be worn.
  • Where respirators are required, wear a respirator approved for protection against crystalline silica containing dust. Do not alter respirator in any way. Workers who use tight-fitting respirators can not have beards/mustaches which interfere with the respirator seal to the face.
  • If possible, change into disposable or washable work clothes at the work side; shower and change into clean clothing before leaving the work site.
  • Do not eat, drink, use tobacco products, or apply cosmetics in areas where there is dust containing crystalline silica.

Handle Chemicals Properly

  • Protective clothing should be worn.
  • Handle all chemicals with care.
  • Follow instructions on container label.
  • Agricultural chemicals can be dangerous. Improper use can seriously injure persons, animals, plants, soil, and property.
  • Inhaling smoke from any type of chemical fire can be a health hazard.
  • Store or dispose of unused chemicals as specified by the chemical manufacturer.

Dig Safe — Avoid Underground Utilities

  • USA: Call 811.
CAN: digsafecanada.ca
Always contact your local utility companies (electrical, telephone, gas, water, sewer, and others) before digging so that they may mark the location of any underground services in the area.
  • Be sure to ask how close you can work to the marks they positioned.

Transport Safely

  • Comply with federal, state and local laws.
  • Use towing vehicle and trailer of adequate size and capacity. Secure equipment towed on a trailer with tie downs and chains
  • Sudden braking can cause a towed trailer to swerve unexpectedly. Reduce speed if towed trailer is not equipped with brakes.
  • Avoid contact with any overhead utility lines or electrically charged conductors.
  • Always drive with load on end of loader arms low to the ground.
  • Always drive straight up and down steep inclines with heavy end of skid steer on the “uphill” side
  • Maximum transport speed for an attached equipment is 20 mph (32km/h). DO NOT EXCEED
  • As a guideline, use the following maximum speed weight ratios for attached equipment: 20 mph (32 km/h) when weight of attached equipment is less than or equal to the weight of the tow vehicle. 10 mph (16 km/h) when weight of attached equipment exceeds the weight of the tow vehicle but not more than double the weight.
  • IMPORTANT: Do not tow a load that is more than double the weight of the vehicle towing the load.

Safety Labels

Your Hydraulic Box Scraper comes equipped with all safety labels in place. They were designed to help you safely operate your equipment. Read and follow their directions.
  • Keep all safety labels clean and legible.
  • Refer to this section for proper label placement. Replace all damaged or missing labels. Order new labels from www.hatfieldmfg.com.
  • Some new equipment installed during repair requires safety labels to be affixed to the replaced component as specified herein. When ordering new components make sure the correct safety labels are included in the request.
  • Refer to this section for proper label placement. To install new labels: Cleansurface area where label is to be placed. Spray soapy water onto the cleaned area. Peel backing from label and press label firmly onto the surface. Squeeze out air bubbles with edge of a credit card or with a similar type of straight edge.
Image
Labels for your Hydraulic Box Scraper are sold in packages containing all the safety labels you need.
Record your machine details: Serial Number, Model Number and Delivery Date. The Serial Number and Model Number can be found by referencing the picture below.

Introduction

Hatfield Manufacturing designed this box scraper with care and built it with skilled workers using quality materials. Proper maintenance and safe operating practices will help you get years of satisfactory use.

Application

Box Scrapers are designed and built by Hatfield Manufacturing for grading, leveling and backfilling soil, gravel, or other materials to create a smooth, funcitional surface.

Using this Manual

  • This Operator’s Manual is designed to help familiarize you with safety, operation, adjustments, troubleshooting, and maintenance. Read this manual and follow the recommendations to help ensure safe and efficient operation.
  • The information contained within this manual was current at the time of printing. Some parts may change slightly to assure you of the best performance.
  • To order a new Operator’s or Parts Manual, visit our website at www.hatfieldmfg.com.

Terminology

  • “Right” or “Left” as used in this manual is determined based on the operator sitting in the power machine facing forward.
  • “Clockwise” or “Counterclockwise” as used in this manual is determined based on the operator facing forward, seated on the power machine, looking down “through” the implement, or looking to the Right.
  • “Standard” or “Reverse” as used in this manual in reference to Tines means the direction the tine is meant to spin. Standard is Clockwise, Reverse is Counterclockwise.

Owner Assistance

  • The parts on your Bed Buster have been specially designed by Hatfield Manufacturing and should only be replaced with genuine Hatfield Parts. Contact us if customer service or repair parts are required.

Serial Number

  • For quick reference and prompt service, record the serial and model number. Always provide the serial number when ordering parts and in all correspondences with Hatfield Mfg., or the Dealer you purchased your Bed Buster from. Your Serial Number can be located on your machine by referencing the picture below.

Maintenance

Keeping your implements and equipment clean and maintained will make them safer and help them last longer.
Image

Lubrication

There are eight (8) grease zerk fittings on the implement. These points must be greased with high quality multipurpose grease every 50 operating hours.
Image

Hydraulic Box Scraper - Tongue Assembly

Image
Part Quantity Description Part Number
2 1 Box Scraper, Hi-Pro, Tongue Assembly 480-2100
12 1 Hitch Pin 1.125 x 8.5" HP-118-812
13 38 Flanged Nylon Lock Nut 3/4"-10, Zinc FNN34-10-ZN
14 12 Flanged Hex Bolt, 3/4"-10 X 2 1/2", Grade 8 Zinc FHB34-10-212-G8ZN
16 2 High-Strength Steel Nylon-Insert Locknut NN1-8-G5ZN
17 2 Zinc Yellow-Chromate Plated Hex Head Screw HB1-8-812-G8ZN
21 1 Wide Heavy Duty Clevis Hitch 100-1003
22 1 Stauff 1/2" Twin Hose Clamp 320-20-PPH-GD-AS-U-W3-K
34 1 Bull Dog Jack 7K 178151

Hydraulic Box Scraper - Back Hitch

Image
Part Quantity Description Part Number
31 8 Nylon Lock Nut 5/8" -11, Grade 5 Zinc NN58-11-G5ZN
32 1 Hydraulic Box Scraper Hitch 480-1115
33 8 Hex bolt, 5'8"-11 X 1-3/4", Grade 5 Zinc HB58-11-134-G5ZN

Front

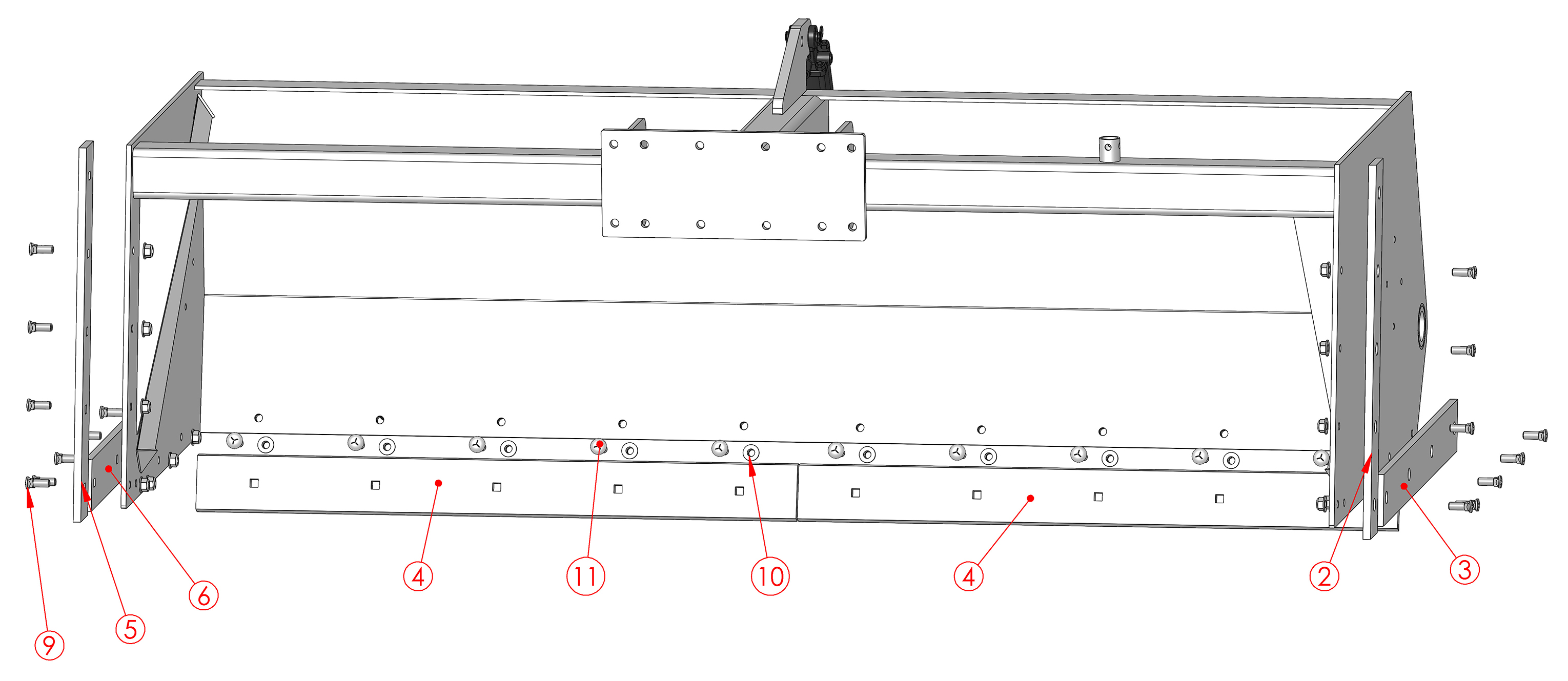
Image
Part Quantity Description Part Number
2 1 Box Scraper, Hi-Pro, Left Vertical Blade 480-5102
3 1 Box Scraper, Hi-Pro, Left Horizontal Blade 480-5100
4 2 Box Scraper, 8 Foot Blade 480-5008
5 1 Box Scraper, Hi-Pro, Right Vertical Blade 480-5103
6 1 Box Scraper, Hi-Pro, Right Horizontal Blade 480-5101
9 16 Square-Neck Oval Head Plow Bolts PB3410-214-G8ZN
10 24 Flanged Nylon Lock Nut 3/4"-10, Zinc FNN34-10-ZN
11 8 Carriage Bolt, 3/4"-10 X 3", Grade 5 Zinc CB34-10-3-G5ZN
Part Quantity Description Part Number
2 1 Box Scraper, Hi-Pro, Left Vertical Blade 480-5102
3 1 Box Scraper, Hi-Pro, Left Horizontal Blade 480-5100
4 2 Box Scraper, 10 Foot Blade 480-5010
5 1 Box Scraper, Hi-Pro, Right Vertical Blade 480-5103
6 1 Box Scraper, Hi-Pro, Right Horizontal Blade 480-5101
9 16 Square-Neck Oval Head Plow Bolts PB3410-214-G8ZN
10 26 Flanged Nylon Lock Nut 3/4"-10, Zinc FNN34-10-ZN
11 10 Carriage Bolt, 3/4"-10 X 3", Grade 5 Zinc CB34-10-3-G5ZN
Part Quantity Description Part Number
2 1 Box Scraper, Hi-Pro, Left Vertical Blade 480-5102
3 1 Box Scraper, Hi-Pro, Left Horizontal Blade 480-5100
4 2 Box Scraper, 12 Foot Blade 480-5012
5 1 Box Scraper, Hi-Pro, Right Vertical Blade 480-5103
6 1 Box Scraper, Hi-Pro, Right Horizontal Blade 480-5101
9 16 Square-Neck Oval Head Plow Bolts PB3410-214-G8ZN
10 28 Flanged Nylon Lock Nut 3/4"-10, Zinc FNN34-10-ZN
11 12 Carriage Bolt, 3/4"-10 X 3", Grade 5 Zinc CB34-10-3-G5ZN
Part Quantity Description Part Number
2 1 Box Scraper, Hi-Pro, Left Vertical Blade 480-5102
3 1 Box Scraper, Hi-Pro, Left Horizontal Blade 480-5100
4 2 Box Scraper, 14 Foot Blade 480-5014
5 1 Box Scraper, Hi-Pro, Right Vertical Blade 480-5103
6 1 Box Scraper, Hi-Pro, Right Horizontal Blade 480-5101
9 16 Square-Neck Oval Head Plow Bolts PB3410-214-G8ZN
10 30 Flanged Nylon Lock Nut 3/4"-10, Zinc FNN34-10-ZN
11 14 Carriage Bolt, 3/4"-10 X 3", Grade 5 Zinc CB34-10-3-G5ZN

Hydraulic Parts

Image
Part Quantity Description Part Number
23 2 Box Scraper, Hi-Pro, 6K AG Spindle 4840-5102
24 2 TRP Complete 6K AG Hub AGH608B8800-2Z
25 2 8 on 8, 12-16.5 import, tire and wheel assembly 100-1563
26 8 Grease Fitting 1/4"-28 SAE-LT GF14-28-SAE-LT
27 1 Hydraulic Cylinder 211376
28 2 Hydraulic Cylinder Clevis Pin 172250
29 1 Box Scraper, Hi-Pro, Top Ram Mount 480-3307
30 2 Hex Bolt 5/8"-11 X 5", Grade 5 Zinc HB58-11-5-G5ZN
31 2 Nylon Lock Nut 5/8"-11, Grade 5 Zinc NN58-11-G5ZN

Main Office & Manufacturing

1823 Shoestring Road | Gooding, Idaho 83330 | Toll Free: 800.359.8171 | 208.934.5182 | Fax: 208.934.8892

2025 Hatfield Manufacturing, Inc.